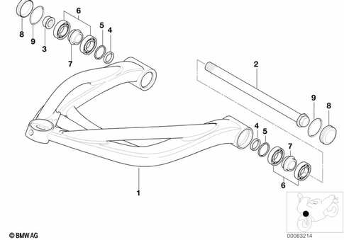
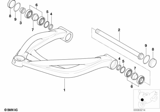
Telescopic Forks, Telelever for 2000 BMW-Motorrad R 1150 R
No.
Part # / Description / Price
Price
No.
Part # / Description / Price
Price
No.
Part # / Description / Price
Price
No.
Part # / Description / Price
Price
No.
Part # / Description / Price
Price






BMW-Motorrad