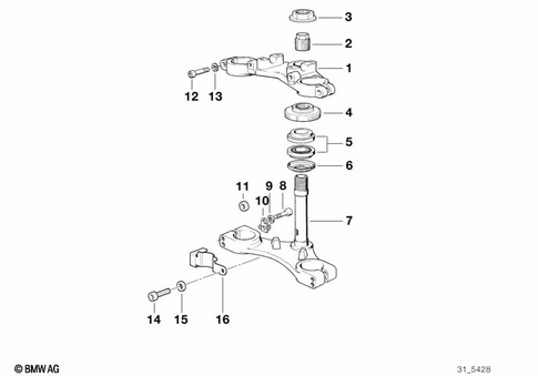
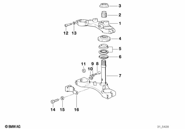
Telescopic Forks, Telelever for 1994 BMW-Motorrad R 100 R
No.
Part # / Description / Price
Price
No.
Part # / Description / Price
Price
14
$2.27
No.
Part # / Description / Price
Price
No.
Part # / Description / Price
Price
No.
Part # / Description / Price
Price
No.
Part # / Description / Price
Price







BMW-Motorrad